手動反沖洗過濾器_ZPG-II反沖洗過濾器_ZPG型反沖洗過濾器生產廠家-華豫閥門
手動反沖洗過濾器概況:

手動反沖洗過濾器是專用水管道上的一種新產品,該產品設計合理,使用方便。產品在施工中會出現大量雜物收集到過濾器內,在工作中云裝中這些雜物給管道上設備帶來極大危害,改產品起到了很大的保護作用,把所有雜物收到過濾器內,可保護管道上設備,該產品有調試和維修中除污不需拆任何部件,可節省人力、物理、目前是理想的新產品。
手動反沖洗過濾器工作原理:

管道系統自愛正常工作時,管道內雜物會收到過濾器網內排污口上,不需拆卸過濾器任何部件來排出污物,只需打開排污閥即可排污。①在排污前先把過濾器前閥門,關小流量,進行排污;②排污時把轉向閥轉向沖洗方向,水從轉向閥前部進入,從過濾網外部流過,然后又從過濾網外部進入轉向閥后部,雜物全部集中到排污口上,然后再打開排污閥進行排污,起到了最佳自動反沖洗過濾器全部功能。
手動反沖洗過濾器技術參數:
工作壓力:1.6MPa 試驗壓力:2.4Mpa
手動反沖洗過濾器主要材料:
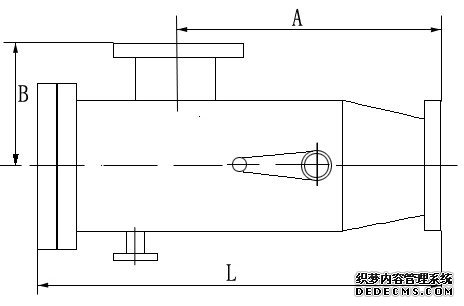
反沖洗過濾器 (角通型)外形尺寸
|
型號 |
口徑 |
A |
B |
L |
主管直徑 |
流量 |
重量 |
|
|
mm |
mm |
mm |
mm |
mm |
m3/h |
kg |
|
HYFM-ZPGII-02 |
50 |
200 |
135 |
300 |
108 |
18 |
21 |
|
HYFM-ZPGII-2.5 |
65 |
200 |
135 |
300 |
108 |
28 |
23 |
|
HYFM-ZPGII-03 |
80 |
260 |
155 |
360 |
133 |
50 |
29 |
|
HYFM-ZPGII-04 |
100 |
300 |
180 |
410 |
159 |
80 |
40 |
|
HYFM-ZPGII-05 |
125 |
330 |
220 |
460 |
219 |
125 |
60 |
|
HYFM-ZPGII-06 |
150 |
400 |
220 |
530 |
219 |
180 |
80 |
|
HYFM-ZPGII-08 |
200 |
420 |
260 |
580 |
325 |
320 |
120 |
|
HYFM-ZPGII-10 |
250 |
520 |
300 |
720 |
377 |
490 |
195 |
|
HYFM-ZPGII-12 |
300 |
660 |
320 |
910 |
426 |
710 |
215 |
|
HYFM-ZPGII-14 |
350 |
680 |
350 |
950 |
529 |
970 |
305 |
|
HYFM-ZPGII-16 |
400 |
740 |
430 |
1040 |
630 |
1260 |
515 |
|
HYFM-ZPGII-18 |
450 |
900 |
440 |
1150 |
630 |
1590 |
550 |
|
HYFM-ZPGII-20 |
500 |
1000 |
560 |
1380 |
715 |
1970 |
630 |
|
HYFM-ZPGII-24 |
600 |
1200 |
580 |
1650 |
840 |
2850 |
850 |
默認濾網規格:精度2.5 mm
壓力損失:根據流體的壓力和流速在0.015-0.08MPa范圍,如用戶指定的過濾精度高,壓力損失會隨之增加。
安裝使用注意事項
1. 選型原則按管徑匹配原則;在滿足工作壓力和流量的前提下,盡量選用規格較大的型號。
2. 該設備建議垂直安裝,安裝時注意設備上標示的箭頭方向要與介質流動方向一致;如果水平安裝,應使入水口朝上,水流自上而下流入該設備。
3. 可加裝旁路,以便于檢修。
◆如何選擇合適的過濾方案
為了達到最佳的過濾效果,同時最大限度地滿足用戶省水、省電、省人工的要求,請咨詢華豫閥門工程師。華豫閥門授權代理商及經銷商得到華豫閥門工程師的專業技術培訓。他們將憑借其專業知識、豐富的市場經驗,以及嚴謹的科學態度,為您做出最佳選擇。
華豫閥門可以根據用戶需求設計,生產各種壓力范圍的反沖洗過濾器;華豫閥門經過特殊的工藝生產溫度高達95oC以上的反沖洗過濾器,對需要在寒冷條件下工作的反沖洗過濾器,華豫閥門將采用特殊的過濾控制系統;針對海水腐蝕性強的特點,華豫閥門選用鎳,鈦合金等特殊材料,并對反沖洗過濾器進行特殊的加工處理;過濾可以根據用戶具體工況,要求,提供有針對性的解決方案。
新鄉市華豫閥門有限公司是專業的
Y型過濾器、
旋流除砂器、
手搖刷式過濾器、
反沖洗過濾器、
全自動自清洗過濾器、
全自動反沖洗過濾器、
汽水分離器、
籃式過濾器、
漿液閥、
閘閥、
截止閥、
旋塞閥等產品的生產企業。
華豫閥門以質量求生存,把用戶當上帝,每一道工序有質量檢驗負責人,每個成品有質量檢驗負責人。可靠質量讓客戶放心。完善的售后服務讓客戶省心。用高質量的產品占領市場,用服務保住市場。聯系電話:0373-3547966手機:13938752202 QQ:2248467420 郵箱:xxhylq@163.com 網址:
http://www.xxhyvalve.com 聯系人:李剛 國內一流的品質、優質的服務來為您保駕護航!